Ford patents a vehicular system for the generation and purification of water

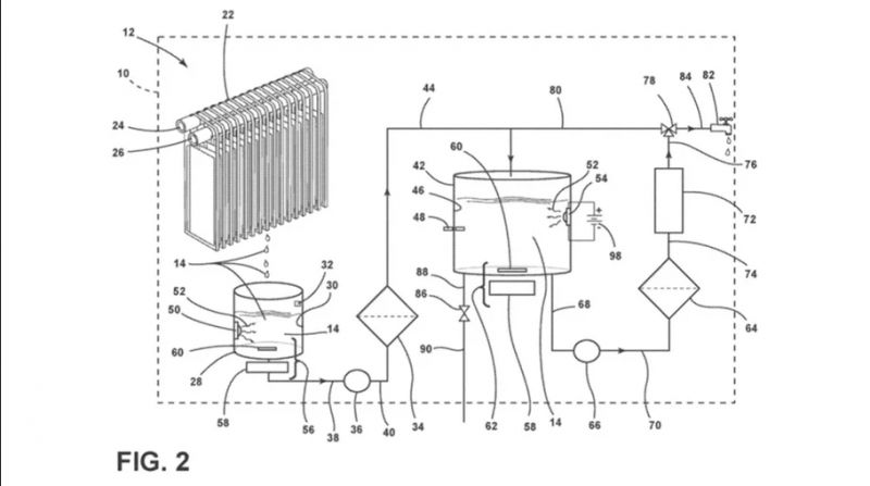
Ford has just patented a vehicle water generation systemwhich would be able to collect water in liquid form from the condensation of water vapor from the radiator, air conditioning and other elements of the vehicle.

For its operation, a series of filters and containers would be used that could collect and clean these vapors, also making use of ultraviolet light. The resulting water can be chilled, making it suitable for a variety of uses, from cleaning to refrigeration, but perhaps the most important use is to generate potable water.which is what this patent is intended to create.

In addition to providing a portable water source for vehicle owners no matter where they areWhether on the road or traversing remote territory while driving or camping, this idea is also quite eco-friendly and could also help conserve water, an increasingly scarce resource.

Although clearly this system would not serve to fill a swimming pool, It will surely be ideal to get us out of troubleand at the end of the day you are using condensed moisture that would otherwise go to waste.

Perhaps in the future, after a trip, our vehicle will give us a bottle of pure, fresh and drinkable water., which is not bad at all. In addition, systems like these could also be used by vehicles that run on hydrogen, which generate water in their reaction.

Bir yanıt yazın

E-posta adresiniz yayınlanmayacak. Gerekli alanlar * ile işaretlenmişlerdir

2025 © Tüm hakları saklıdır. | Tasarım Kod İletişim


yurt dışı evden eve nakliyat | Fling Trainer | Kayseri Evden Eve Nakliyat | Uluslararası Evden Eve Nakliyat | Kayseri Evden Eve Nakliyat | Uluslararası Evden Eve Nakliyat | Evden eve nakliyat | antalya haber